دل پتنت جدیدی برای نمایشگر لپ تاپ تاشونده ثبت کرد

    کد خبر :602997

دل تصمیمی جدی برای تولید لپ‌تاپ با نمایشگر تاشونده دارد و در این مسیر پتنت‌هایی را هم برای حفظ مالکیت معنوی طراحی‌ها ثبت می‌کند.

دل به‌عنوان یکی از بزرگ‌ترین بازیگران صنعت کامپیوترهای شخصی تلاش می‌کند تا در موج بعدی محصولات، یعنی دستگاه‌های تاشونده حضوری جدی داشته باشد. آن‌ها در تلاش برای طراحی لپ‌تاپ تاشونده، پتنت جدیدی را در اداره‌ی ثبت اختراع آمریکا ثبت کردند که روی لولای نمایشگر محصول تمرکز دارد.

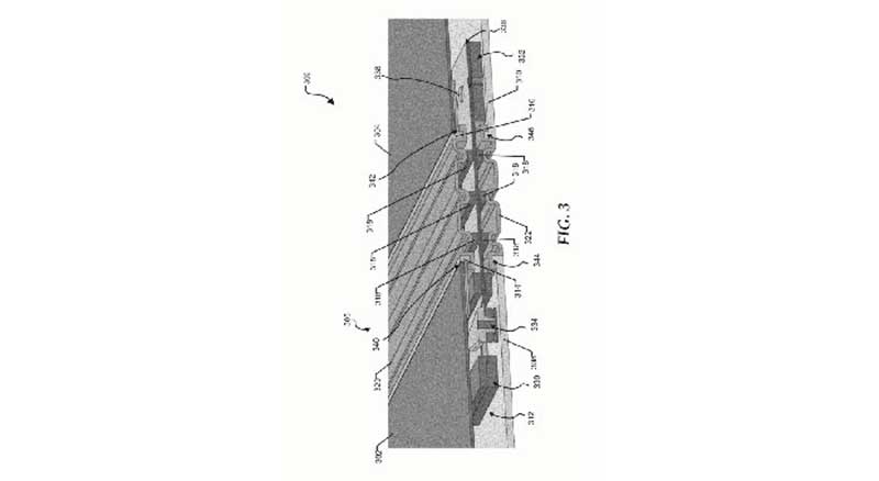
پتنت دل برای نمایشگر تاشونده‌ی لپ‌تاپ تصاویر متعددی از جزئیات قطعات متعدد لولا دارد. شرکت برای توضیح بخش لولا در پتنت از عبارت «سیستم مدیریت اطلاعات با انعطاف‌پذیری و ضخامت کم» استفاده می‌کند. با توجه به عبارت مذکور می‌توان پیش‌بینی کرد که قطعه‌ی لولا علاوه بر کاربرد بهبود خاصیت تاشوندگی، وظایفی همچون انتقال اطلاعات بین بخش‌های گوناگون نمایشگر را هم بر عهده دارد.

در بخشی از خلاصه‌ی پتنت دل برای نمایشگر تاشونده‌ی لپ‌تاپ می‌خوانیم:سیستم مدیریت اطلاعات دارای یک لولای انعطاف‌پذیر خواهد بود. لولا شامل یک صفحه‌ی انعطاف‌پذیر اول است که در زمان جابه‌جایی وضعیت، در شعاع‌های گوناگون نسبت به صفحه‌ی انعطاف‌پذیر دوم تا می‌شود. یک براکت اتصالی و همچنین یک اتصال اصطکاکی برای وصل‌کردن هر صفحه به سیستم مدیریت اطلاعات تعبیه می‌شود. درنهایت یک LED هم در لولای انعطاف‌پذیر وجود خواهد داشت.


پیشرفت در دنیای پردازش تاشونده

رویکرد دل در استفاده از پتنت‌های عمومی در توسعه‌ی فناوری تاشونده جالب‌توجه و مبهم به‌نظر می‌رسد. به‌همین دلیل اصطلاحی همچون سیستم مدیریت اطلاعات در توضیح پتنت‌ این شرکت مشاهده می‌شود. به‌هرحال شرکت در توضیح سیستم مدیریت اطلاعات می‌گوید که هر المانی از کامپیوتر کامل تا درایوهای حافظه و حتی یک پردازنده، در این تعریف جای می‌گیرند. البته با نگاهی به طراحی دل در پتنت جدید متوجه می‌شویم، منظور آن‌ها اکنون روی کامپیوتر همراه‌با نمایشگر تاشونده متمرکز می‌شود.

دل در پتنت خود از اصطلاح صفحه‌های تاشونده برای نمایشگر استفاده می‌کند. با نگاهی به طراحی‌ها کاملا مشخص می‌شود که صفحات انعطاف‌پذیر قطعاتی با یک نمایشگر پیوسته در کل دستگاه هستند. در توضیح پتنت می‌خوانیم:لولای انعطاف‌پذیر به‌گونه‌ای مونتاژ می‌شود که از یک سیستم مدیریت اطلاعات با ضخامت هشت میلی‌متر پشتیبانی می‌کند. سیستم مدیریت اطلاعات با دو نمایشگر مشخص می‌شود؛ به‌علاوه سیستم لولا به‌گونه‌ای طراحی شده است که با یک بخش OLED، هر دو طرف نمایشگر را پوشش دهد.

اطلاعات بالا نشان می‌دهند که دل با جدیت مشغول طراحی لپ‌تاپ با نمایشگر تاشونده است. ازطرفی، در سال ۲۰۱۹ تنها شاهد پتنت و اطلاعات فنی هستیم. درنتیجه نمی‌توان تا سال ۲۰۲۰ و پس از آن انتظار محصولی نهایی و مخصوص مصرف‌کننده را داشت.

0
نظرات
نشانی ایمیل شما منتشر نخواهد شد نظرات حاوی الفاظ و ادبیات نامناسب، تهمت و افترا منتشر نخواهد شد

دیدگاهتان را بنویسید